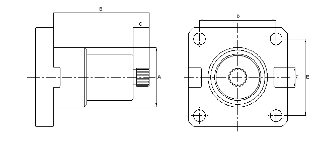
BMT TOOL HOLDER