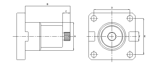
BMT 刀座規範